Seatronic Magasinet
Produsentoversikt
Vi sender samme dag!*
Telefon: 69 25 09 60
Infosenter
Logg inn
Min handlekurv
Elektronikk
Ankring og fortøyning
Strøm
Motor og styring
Vann, varme og toalett
Kjøl og kok
Interiør og eksteriør
Sikkerhet
Flere valg
Outlet
Hjem
Strøm
Brytere og paneler
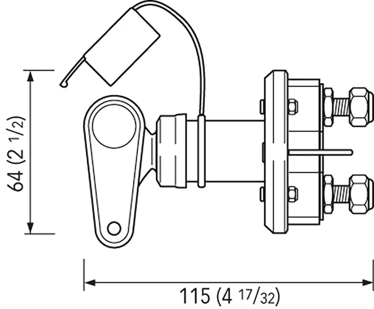
Quick hovedstrømbryter 100A
Se flere
Quick
Quick hovedstrømbryter 100A
Max belastning: 2000A i 3 sekunder.
Varenummer QUIS10N
509,–
inkl. mva
På lager
Legg i handlekurv
Leveringsalternativer
Postnummer
Vis alternativer
Skriv inn postnummer for fraktpris